Реферат: Проектирование мотоустановки среднемагистрального пассажирского самолета
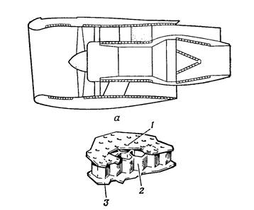
Акустически обработанная мотогондола двигателя пассажирского самолета

а
– мотогондола с ЗПК; б – многослойная звукопоглощающая конструкция;
1 – перфорированная обечайка; 2 – сотовый заполнитель; 3 –
опорная поверхность.
Рис. 2
1. ОПИСАНИЕ КОНСТРУКЦИИ МОТОГОНДОЛЫ
На самолете установлены мотогондолы с использованием в конструкции композиционных материалов (звукопоглощающие панели воздухозаборника).
Мотогондола (рис. 3) состоит из:
– передней части воздухозаборника;
– задней части (створки мотогондолы);
– панелей крепления створок мотогондолы.
Передняя часть мотогондолы состоит из носка, канала и обечайки. Носок крепится по внутреннему контуру к каналу воздухозаборника, а по внешнему – к обечайке.
Канал – трехслойная оболочка. Внутренняя обшивка (перфорированная) выполнена из алюминиевого сплава Д19чАТВ толщиной 1,8 мм, нагруженная обшивка – из сплава Д19чАТ = 1,2 мм.
Заполнитель: ТССП-Ф-10П, сотовый, с шестигранной ячейкой а = 10 мм.
Толщина панели – 20 мм.
Внешняя поверхность воздухозаборника – обечайка представляет собой клепанную оболочку с обшивкой из материала Д16-АТВ (травленая) с толщиной обшивки 1,8 мм, под двумя подкрепляющими до толщины равной 1,2 мм между ними.
Обшивка в обечайке в передней плоскости крепится к стеночному шпангоуту передней губы воздухозаборника, а по задней – к торцевому стеночному шпангоуту в районе фланца двигателя.
Воздухозаборник закреплен на переднем фланце двигателя двенадцатью быстросъемными соединителями (накидными болтами М10), воспринимающими осевые усилия, а также моменты вертикальных и горизонтальных осей.
Силовое воздействие в плоскости, определяемой указанными осями, воспринимается цилиндрическим пояском на фланце двигателя, по которому осуществляется и центровка воздухозаборника.
В конструкцию воздухозаборника встроена противообледенительная система (ПОС) с отбором горячего воздуха от третьей ступени компрессора высокого давления двигателя.
Внешняя обшивка и панели объединены первым и четвертым силовыми шпангоутами. Четвертый шпангоут воздухозаборника выполняет функции поперечной противопожарной перегородки.
Носок воздухозаборника отштамованный из нержавеющей стали состоит из четырех частей, сваренных между собой встык.
Носок воздухозаборника состоит из обшивки, поперечной диафрагмы, на которой крепится коллектор с частью трубы ПОС и шпангоута № 1. Шпангоут № 1 сборной конструкции имеет кольцевую форму и состоит из стенки, усиленной поясами и диафрагмами.
Коллектор входит в конструкцию противообледенительной системы воздухозаборника (ПОС). Звукопоглощающая канальная панель (ЗПК) конструктивно выполнена в виде двух дюралюминиевых обшивок, между которыми вклеен сотовый заполнитель. Со стороны проточной части обшивка перфорирована. ПО торцам панели приклеены профили для стыковки с носком по шпангоуту № 1 и со шпангоутом № 4 воздухозаборника.
2. СИЛОВОЙ РАСЧЕТ ВОЗДУХОЗАБОРНИКА
В конструкциях современных самолетов можно наблюдать большое разнообразие типов, форм и расположений воздухозаборников. Это связано с тем, что они должны обеспечивать наиболее эффективное использование кинетической энергии набегающего потока и вместе с тем иметь минимальное лобовое сопротивление. Форма внутреннего канала должна обеспечивать возможно малые потери энергии на трение, но одновременно отвечать условиям лучшей компоновки самолета.
В случае отсутствия аэродинамических продувок по воздухозаборникам нагрузки на них можно приближенно определить, исходя из двух режимов полета самолета. Получаемые нагрузки будут несколько завышены по сравнению с действительными и пойдут в запас прочности.
Поскольку профили гондол и капотов подобны профилю крыла и обтекаются воздушным потоком на режимах, соответствующих большим углам атаки крыла, на них возникают значительные аэродинамические нагрузки.
В эксплуатации встречаются различные случаи нагружения гондол. Наибольший интерес представляют два случая, учитывающие полета при максимальных скоростях и маневрах самолета.
2.1. Исходные данные для силового расчета
Аэродинамические нагрузки на мотогондолу приведены в табл. 1,
(xy и xz даны в долях длины мотогондолы. В носке мотогондолы х = 0).
Таблица 1
Характеристика расчетных случаев А' и Д' для установок под двигатели
| Расчетные | Значения характеристик | ||||||||
| случаи |
nyэ |
a, град | b, град |
dзвнутр, град |
q, кг/м3 |
yэмг , кг |
xy |
zэмг, кг |
xz |
| А' | 2,5 | 10 | 0 | 0 | 2000 |
1600/ 1100 |
0,16¸ 0,83 |
±190 |
0,16¸ 0,55 |
| Д' | -1,0 | -4 | 0 | 0 | 2000 |
-2210/ -1810 |
0,16¸ 90,55 |
±160 |
0,16¸ 0,55 |
Нагрузки распределяются по внешней поверхности следующим образом:
– избыточное давление по поверхности определяется по формуле (1.1)
DPэ = pq , (1.1)
где DPэ – избыточное давление на поверхности;
q – скоростной напор;
p – рассчитывается по формуле:
p = p1+ py + pz . (1.2)
Величина p1 определяется по графику на рис. 4
Величина py для случая Д' дается на прилагаемом графике (рис. 5). Для других режимов величина py пересчитывается пропорционально Yмг.
Значение pz определяется по формуле:
pz = pza + pzb . (1.3)
Распределение pza по контуру и длине воздухозаборника дается на графике (рис. 6). При этом pza определяется по выражению:
pza = (z(a)мг/q)Kza . (1.4)
В случаях А' и Д' z(a)мг = zмг, в других расчетных случаях следует принимать z(a)мг = ±180 кг. Kza определяется по графику на рис. 6.
Распределение pzb по контуру принимается таким же как и для pza. При этом:
pzb = ((zмг – 180)/q)Kzb . (1.5)
где zмг – берется из таблиц;
Kzb – определяется по графику на рис. 7.
2.2. Распределение расчетных аэродинамических нагрузок по длине воздухозаборника
Нагрузки на внутреннюю поверхность воздухозаборника представлены в таблицах 2 и 3.
Таблица 2
Расчетные значения нагрузок в случае А'
| х | 0° | 60° | 120° | 180° | 240° | 300° |
| 0 | -1105 |
-545 -804 |
564 305 |
+1105 |
545 804 |
-564 -305 |
| 0,05 | -940 |
-464 -679 |
476 261 |
+940 |
464 679 |
-476 -261 |
| 0,1 | -774 |
-383 -553 |
391 221 |
+774 |
383 553 |
-391 -221 |
| 0,153 | -597 |
-296 -431 |
302 167 |
+597 |
296 431 |
-302 -167 |
Таблица 3
Расчетные значения нагрузок в случае Д'
| х | 0° | 60° | 120° | 180° | 240° | 300° |
| 0 | +442 |
207 -12 |
-235 -454 |
-442 |
-207 12 |
235 454 |
| 0,05 | +376 |
177 -3 |
-199 -379 |
-376 |
-177 3 |
199 379 |
| 0,1 | +310 |
146 2 |
-164 -308 |
-310 |
-146 -2 |
164 308 |
| 0,153 | +239 |
113 -1 |
-127 -241 |
-239 |
-113 1 |
127 241 |
Страницы: 1, 2, 3, 4, 5, 6, 7, 8, 9, 10, 11, 12, 13


